发布时间:2022-01-04 来源:中国网财经 责任编辑:张尧
中国网财经1月4日讯(记者 苏萌)日前,山东省药品监督管理局发布一则关于山东圣鲁制药有限公司的行政处罚信息(鲁药监处罚〔2021〕Y102号)。

处罚决定书显示,2021年7月28日,厦门市食品药品质量检验研究院从厦门思明闽都医院有限公司抽取20盒盐酸利多卡因注射液(标示生产企业:山东圣鲁制药有限公司;批号:2101021;规格:5ml:0.1g;包装规格:5 支/盒,下同)用于福建省级药品抽验。经厦门市食品药品质量检验研究院检验及复验,该公司生产销售的盐酸利多卡因注射液“渗透压摩尔浓度”项不符合国家药品标准规定。
经查,山东圣鲁制药有限公司2021年1月生产并入库盐酸利多卡因注射液22080盒,2021年5月全部销售完毕。该批次药品销售总价为25920.00元,故该批次药品货值金额为 25920.00元。公司主动召回13058盒盐酸利多卡因注射液,其中用于检验53盒,库存13005盒。召回药品总价为13506.00元,故其违法所得12414.00元。
通报称,依据《中华人民共和国药品管理法》第九十八条第三款第(七)项“其他不符合药品标准的药品”的规定,山东圣鲁制药有限公司生产销售的盐酸利多卡因注射液判定为“劣药”,该公司生产销售劣药盐酸利多卡因注射液的行为违反了《中华人民共和国药品管理法》第九十八条第一款“禁止生产(包括配制,下同)、销售、使用假药、劣药”的规定,被没收盐酸利多卡因注射液(批号:2101021)13005盒;没收违法所得12414.00元;并处罚款1300000.00元,罚没款合计1312414.00元。
资料显示,山东圣鲁制药有限公司(原泗水希尔康制药有限公司),其前身为山东泗水制药厂,始建于1987年,是经山东省卫生厅鲁卫药字(88)第34号文批准成立的综合性医药制剂生产企业,经营范围包括小容量注射剂(含激素类)、片剂、硬胶囊剂(有效期限以许可证为准)等。颜廷生为法定代表人、执行董事,候小滨为持股60%的大股东。
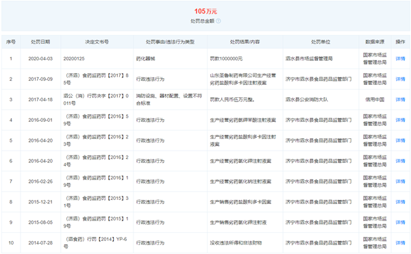
值得注意的是,该公司曾涉及10起行政处罚事件,处罚事由包括生产经营劣药氨钾苯酸注射液、劣药盐酸利多卡因注射液、劣药氯化钾注射液、劣药氯化钠注射液等,处罚总金额达105万元。

- ① 凡本网注明“来源:国企网或《国企》杂志”的所有作品,版权均属于国企网,未经本网授权不得转载、摘编或利用其它方式使用上述作品。已经本网授权使用作品的,应在授权范围内使用,并注明“来源:国企网”。违反上述声明者,本网将追究其相关法律责任。
- ② 凡本网注明“来源:XXX(非国企网)”的作品,均转载自其它媒体,转载目的在于传递更多信息,并不代表本网赞同其观点和对其真实性负责。
- ③ 如因作品内容、版权和其它问题需要同本网联系的,请在30日内进行。




