发布时间:2022-07-08 来源:中国网财经 责任编辑:张尧
中国网汽车7月8日讯 (记者 王忆东)在国内汽车市场中,提及日系车企,谁也不能忽视东风日产的存在,凭借旗下轩逸、天籁、奇骏、逍客等畅销车型,品牌在国内市场的销量表现一路向好。然而近些年,旗下不少车型却屡遭车主诟病质量存在缺陷,甚至导致出现集体性投诉的情况。

多位车主投诉EGR控制阀故障 质疑奇骏质量存缺陷
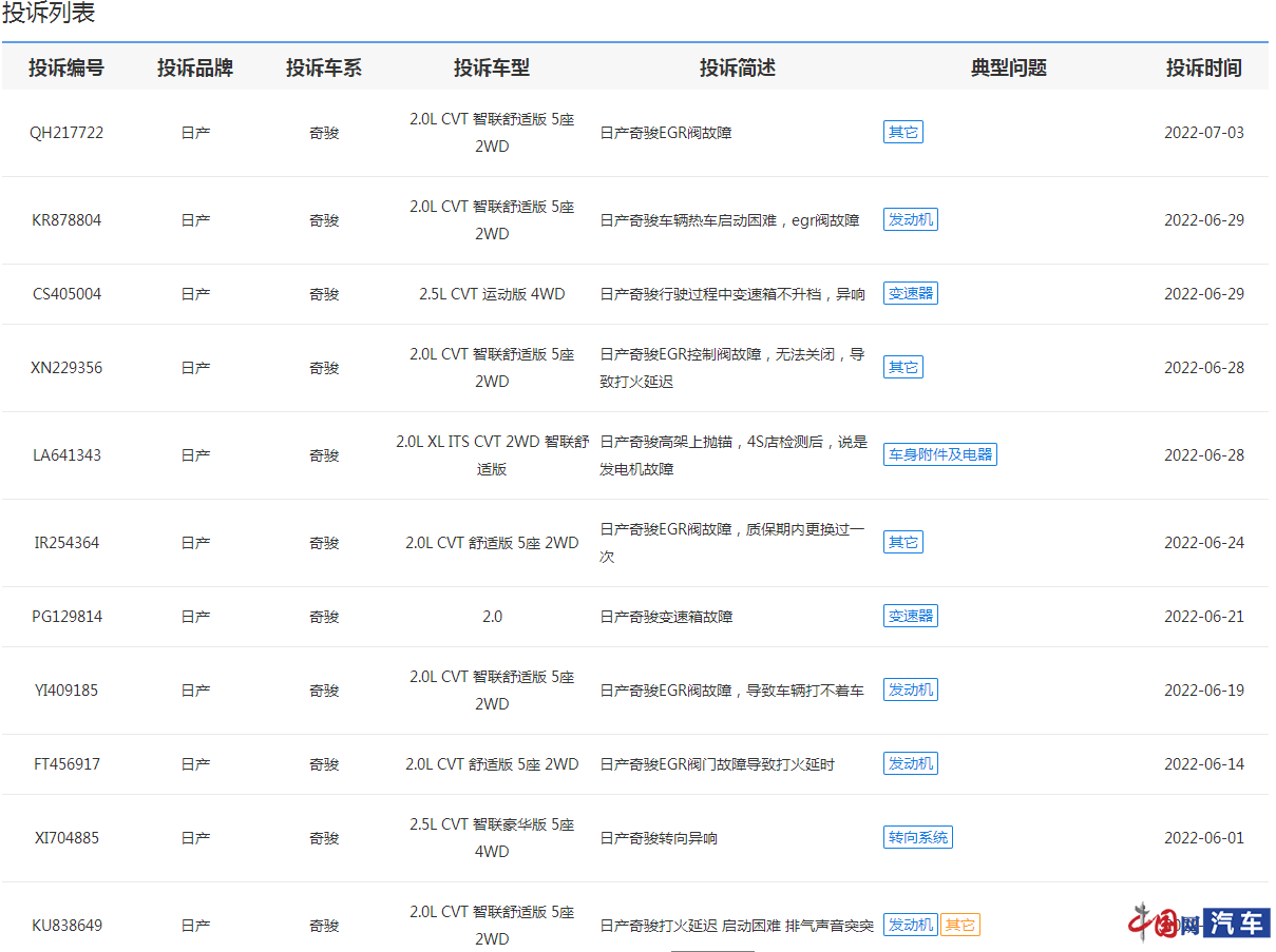
近期,中国网汽车质量投诉平台(https://315.auto.china.com.cn/zlts.html )陆续接到多位东风日产奇骏车主投诉称,车辆EGR控制阀故障,导致车辆无法启动。车主欧先生告诉记者,自己的2019款奇骏自购买后,一直在正规加油站加油,正常保养,但现在刚过质保期,就出现了打火延迟,甚至不能启动的情况。“经检查是EGR控制阀问题,我上网一搜发现这竟然是2019款奇骏的通病,配件质量太差了,3年就出问题,出了质保期就只能自费更换……”


同是2019款奇骏车主的马先生向记者吐槽称:“听很多车友和4S店的工作人员反映这个EGR阀是奇骏的通病,既然有这样的问题,就应该及时召回并给予处理,而不是让消费者在运气中等待发生,我们一直很喜欢奇骏这款车,但出现这样的问题很令人气愤……”

此外,车主郭先生则表示,自己在质保期内曾因EGR阀故障更换过一次配件,但目前又出现同样故障,他认为:“EGR阀属于产品有缺陷,应该召回处理……”
经过记者调查发现,大部分投诉车辆均为2019款奇骏车型,且刚刚过质保期就出现EGR控制阀故障,需要车主自费更换。其中也有少数车主因急于用车,已经自费更换了配件,但“因奇骏车本身的弊端,而非个人原因”导致的故障,仍令车主们无法释怀。
与此同时,在网络其他投诉平台,记者也注意到,奇骏车型该故障投诉也大量存在,甚至有车主反馈“此阀3年坏2次,明显是厂家设计缺陷,坑害消费者……”,并“严重怀疑存在质量缺陷”……
针对投诉进展,记者也联系了东风日产方面,对方表示:“关于奇骏车主投诉EGR控制阀故障,导致车辆无法启动的问题,厂家在第一时间已着手调查处理。经技术部门调查确认,由于个别车辆在某些特殊使用环境中,造成了该部件故障,此问题为偶发故障,并不具备共性。目前,厂家售后部门已经对此问题引入有效的解决对策,客户如遇到了相应故障,建议客户尽快回店进行处理。”此外,对于给车主造成的不便,厂家称:深表歉意。
奇骏车型屡遭投诉 新车上市销量断崖式下跌
作为日产旗下“最为叫座”的SUV车型,奇骏近几年在国内表现却明显遇冷,纠其原因,主要还是其产品力及质量出现了严重问题。此前东风日产的产品更新迭代一直较慢,令处在竞争激烈的SUV市场中的奇骏颇为乏力。更主要的是,明明以可靠耐用著称的日系品牌,却接连被曝出质量问题。
记者注意到,从2018年开始,有关奇骏车型的投诉就呈明显上升的态势,车型主要涉及2014款及2019款,故障问题包括变速器顿挫、发动机异响、发动机漏油、变速器漏油等,其中变速器问题尤为严重。据不完全统计,2018年及2019年,奇骏车型年累计投诉均有千余条。值得注意的是,奇骏有关变速箱问题的投诉,最早可追溯到2008款车型上,可以说,该问题是奇骏车型的“遗传病”。
然而面对奇骏车主们的集体投诉,东风日产方面曾向媒体解释称:奇骏变速箱顿挫、脱档问题,不会影响车辆安全、性能和寿命。该持续顿挫现象属于车身舒适性控制模块偏向于灵敏导致,东风日产已向专营店发布最新升级软件,车辆进行免费的软件升级后此现象可消除。然而部分车主则表示,自己的2014款奇骏存在的顿挫,就是变速箱本身的问题,不是升级软件可以解决的。此前,我网也曾针对奇骏车型变速器抖动做过相关报道。(事件回顾:http://auto.china.com.cn/news/20210926/714295.shtml )
除了奇骏车型,东风日产旗下包括天籁、骐达等车型也被消费者投诉出现变速箱故障,包括变速箱顿挫、动力总成故障灯亮、低速刹车再提速困难等问题。
时间来到2021年7月份,全新一代日产奇骏迎来了上市,然而全系搭载的1.5T三缸发动机,则遭到了网友们的口诛笔伐,尽管彼时官方宣称这台发动机的研发费用高达近200亿元,但也无法挽救该车上市后销量呈现的断崖式下跌,甚至一度因销量过低,被媒体质疑有“销量造假”嫌疑。
在品牌近期发布的6月份销量中,记者并未看到奇骏车型的具体销量数据,而根据第三方数据统计,东风日产奇骏车型今年5月销量仅为469辆,同比下滑高达93.39%。1-5月销量累计下滑86.38%,该销量与其鼎盛时期单月过万的成绩有着云泥之别。可以说,全新一代奇骏在销量层面的失败毋庸置疑,这也必然会导致东风日产的SUV阵列遭受重创。
今年是东风日产成立第19周年,在前不久举办的2022 FAMILY DAY活动上,东风日产乘用车公司副总经理高国林发布2022合•聚•势乘风行动的同时,强调了东风日产始终坚持“用户至上”的初心,并在“拥抱客户”初心的指引下多维变革规划。
面对旗下奇骏车型从几年前变速箱顿挫到当下EGR控制阀故障频发的大量车主投诉,相信19岁的东风日产定能坚持“用户至上”的初心,重视车主投诉,积极解决车主的用车问题,用实际行动去真正“拥抱客户”!
- ① 凡本网注明“来源:国企网或《国企》杂志”的所有作品,版权均属于国企网,未经本网授权不得转载、摘编或利用其它方式使用上述作品。已经本网授权使用作品的,应在授权范围内使用,并注明“来源:国企网”。违反上述声明者,本网将追究其相关法律责任。
- ② 凡本网注明“来源:XXX(非国企网)”的作品,均转载自其它媒体,转载目的在于传递更多信息,并不代表本网赞同其观点和对其真实性负责。
- ③ 如因作品内容、版权和其它问题需要同本网联系的,请在30日内进行。




