发布时间:2021-05-27 来源:中国网财经 责任编辑:张尧
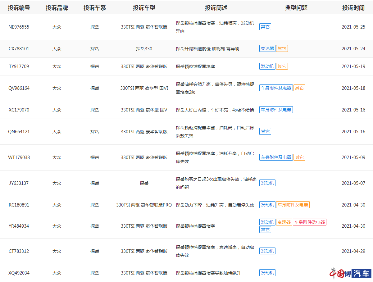
中国网汽车5月27日讯 (记者 王芳)日前,中国网汽车质量投诉平台(我要投诉:http://315.auto.china.com.cn/)接到不少来自一汽-大众探岳车主的投诉,均提到了一个共性问题:“颗粒捕捉器堵塞”。
根据记者了解,投诉的车主大多数购买的均为探岳2020款330TSI两驱车型,且都是购车不久后就出现了问题,包括油耗猛增、动力下降、自动启停频繁失效、发动机异响等,其中,“颗粒捕捉器堵塞”是车主们主要的投诉故障。

根据记者了解,网上也存在大批量探岳“颗粒捕捉器堵塞”的投诉案例。车主们告诉记者,出现上述车辆故障时,也曾开车到4S店检测,但对方均表示:“车辆没有问题,跑跑高速就好了。”但随后,该故障仍旧存在。“单凭跑高速根本不能从根本上解决问题!”探岳车主强调道。因为对于大多数车主来说,驾驶车辆在城区或者短距离的低速行驶是常态,不可能动不动就跑长途。


其中也有探岳车主曾试图找一汽-大众厂家反映情况,希望得到有效解决,但厂家只表示会记录问题,随后就再无联系了。“一汽-大众厂家也知道(车辆有这个问题),但是不给解决。只让我们自己跑高速解决,期间产生的费用还得车主承担,费用是小事,在高速上出了事故就是大问题!难不成非要车主们拉个横幅去一汽-大众总公司门口闹事才行嘛?”有车主气愤地向记者表示。
经过中国网投诉平台的协助及反馈,一汽-大众厂家表示将在5个工作日内针对此事回复媒体具体解决方案。中国网记者也将继续关注后续进展。
对此,记者查阅了相关规定,根据《家用汽车产品修理、更换、退货责任规定》第十八条规定:在家用汽车产品包修期内,家用汽车产品出现产品质量问题,消费者凭三包凭证由修理者免费修理(包括工时费和材料费)。
此外,该规定的第二十条显示,在家用汽车产品三包有效期内,符合本规定更换、退货条件的,消费者凭三包凭证、购车发票等由销售者更换、退货:家用汽车产品自销售者开具购车发票之日起60日内或者行驶里程3000公里之内(以先到者为准),家用汽车产品出现转向系统失效、制动系统失效、车身开裂或燃油泄漏,消费者选择更换家用汽车产品或退货的,销售者应当负责免费更换或退货。
据记者了解,颗粒捕捉器DPF是一种安装在柴油发动机排放系统中的陶瓷过滤器,能够有效地减少微粒物的排放,它先捕集废气中的微粒物,然后再对捕集的微粒进行氧化,使颗粒捕捉器再生,使发动机保持一个良好的状态。一汽-大众根据国家Ⅵ排放标准,将探岳进行了升级优化,添加了该配置,可减少发动机所产生的烟灰达90%以上。但值得注意的是,在车行驶一定公里数后,颗粒捕捉器是需要进行清理或更换的,否则将会引发油耗增高、自动启停失效等问题。
- ① 凡本网注明“来源:国企网或《国企》杂志”的所有作品,版权均属于国企网,未经本网授权不得转载、摘编或利用其它方式使用上述作品。已经本网授权使用作品的,应在授权范围内使用,并注明“来源:国企网”。违反上述声明者,本网将追究其相关法律责任。
- ② 凡本网注明“来源:XXX(非国企网)”的作品,均转载自其它媒体,转载目的在于传递更多信息,并不代表本网赞同其观点和对其真实性负责。
- ③ 如因作品内容、版权和其它问题需要同本网联系的,请在30日内进行。




